
1. 활주로 관리, 새로운 발상의 전환
공항 활주로는 항공기의 안전한 이·착륙을 위해 항상 최상의 상태로 유지되어야 합니다. 그러나 계절과 기상 조건에 따라 활주로 온도, 표면 결빙, 시정 (가시거리) 등이 급격히 변합니다.
최근 기후변화로 인해 폭염, 한파, 안개 발생 빈도가 늘어나면서 활주로 관리의 난이도와 비용이 증가하고 있습니다. 그렇다면 활주로 주변에 스프링클러를 설치하여 기상 조건에 능동적으로 대응한다면 어떨까요?
2. 시스템 개요
빗물 저장 & 재활용
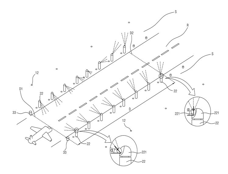
- 활주로 주변 안전지대에 대형 물탱크를 설치
- 빗물 유입 시스템을 통해 자연 강우를 수집
- 물탱크는 스프링클러 네트워크와 연결
냉·온수 제어 장치
- 물탱크에 냉온수기 시스템 장착
- 여름에는 찬물, 겨울에는 온수 (염화칼슘 혼합) 공급 가능
- 계절별 목적에 따라 물의 온도와 성분 조절
자동 제어
- 기상관측장비 (AWOS)와 연동하여 온도, 습도, 시정에 따라 자동 작동
- 제빙·안개 억제·온도 조절 모드 전환
조류 퇴치
- 물탱크에 조류 기피제를 혼합하여 수시로 살포하여 조류 접근 봉쇄
- 예상치 못한 조류의 출물일 경우 스트링클러를 통한 기피제 집중 살포
3. 계절별 활용 시나리오
① 여름 – 폭염 시 활주로 냉각
- 아스팔트나 콘크리트 활주로는 여름철 표면온도가 60℃ 이상까지 상승
- 고온은 아스팔트 연화와 타이어 마모를 가속시키고, '아지랑이 (heat haze)'로 조종사 시야에 영향을 줌
- 스프링클러로 냉수 살포 시 표면온도 10~15℃ 저감 가능
- 항공기 브레이크 성능 유지, 타이어 폭발 위험 감소
② 겨울 – 결빙 방지 및 제빙
- 물탱크에 염화칼슘을 혼합한 온수를 공급
- 결빙이 예상되는 구간에 사전 살포하여 방빙 (anti-icing) 효과
- 이미 형성된 빙판에는 고온수와 염화칼슘을 혼합 살포하여 빠른 제빙 (de-icing) 가능
- 기존 제빙차량 작업 부담 감소, 활주로 재개방 시간 단축
③ 봄·가을 – 안개 발생 억제
- 활주로 인근 저지대나 습지는 일교차가 큰 시기에 안개가 쉽게 형성
- 스프링클러로 지표면의 온·습도 조절을 통해 안개 발생 억제
- 공기 혼합층을 교란시켜 시정 확보 가능
- 특히 새벽·이른 아침 항공편 지연 최소화에 효과


4. 기대 효과
1) 항공 안전 향상
- 폭염·빙판·안개로 인한 활주로 위험요소 사전 차단
- 이착륙 안전 마진 확대, 항공사·조종사 신뢰도 향상
2) 공항 운영 효율
- 기상 악화로 인한 운항 중단 및 지연 감소
- 제빙·제설 장비 운용 시간 및 인력 절감
- 안개로 인한 항공편 결항률 저감
3) 친환경·경제성
- 빗물 재활용으로 물 사용량 절감
- 필요 시 최소 구간만 살포하여 운영비 절감
- 제빙제 사용량 최소화로 환경 오염 저감
5. 고려해야 할 기술적 과제
내구성과 유지보수
- 활주로 주변은 제트 배기, 타이어 파편, 기상 변화에 의한 손상이 빈번
- 스프링클러 헤드와 배관의 내열·내한·내충격성 확보 필요
동절기 동파 방지
- 배관 내 잔수로 인한 동파를 막기 위한 자동 배수 시스템 필수
기상 조건별 정밀 제어
- 강풍, 폭우 시 불필요한 작동 방지를 위한 스마트 제어 로직 개발
인증 및 안전 기준
- 국제민간항공기구 (ICAO) 및 각국 항공안전당국 기준 충족 필요
- 활주로 주변 장애물 규정 (Obstacle Limitation Surface) 준수
6. 해외 사례와 전망
일부 해외 공항에서는 활주로 표면 살수 냉각이나 자동 제빙 시스템을 시범 운영한 바 있습니다. 그러나 빗물 재활용과 다기능 스프링클러를 결합한 사례는 드물어, 이를 상용화하면 한국형 스마트 활주로 관리 시스템으로 세계 시장에 수출 가능성이 큽니다.
7. 결론
활주로 주변에 스프링클러를 설치하고, 계절·기상 상황에 따라 냉각, 제빙, 안개 억제를 수행한다면 항공 안전과 운영 효율성을 동시에 높일 수 있습니다.
빗물 재활용과 냉온수 제어 기술을 결합한 이 시스템은 친환경적이고 경제적인 차세대 공항 인프라로 발전할 수 있으며, 특히 기후변화로 인한 극한 기상에 대응하는 핵심 솔루션이 될 것입니다.
'경영,과학,비지니스' 카테고리의 다른 글
| 외국 탑클라스 법무법인 수익구조 살펴보기 (14) | 2025.08.21 |
|---|---|
| 국내 탑클라스 법무법인 수익구조 살펴보기 (5) | 2025.08.21 |
| ◈ 자전거 핸들은 왜 가변형이 나오지 않을까? (5) | 2025.08.13 |
| 우리나라에도 비행시험을 할 수 있는 비행장이 있다는 사실 알고 계신가요? (5) | 2025.08.13 |
| ♧ 중고 물품 경매 총정리 (6) | 2025.08.10 |